Air-in® Paso on ovenkarmin päälle asennettava siirtoilma- säleikkö, joka päästää ilman kiertämään vapaasti huoneistossa huomaamattomasti vaimentaen samalla tehokkaasti huoneesta toiseen kantautuvia ääniä.
Ovivirtaussäleikkö ratkaisee huoneiden väliset ääniongelmat ja tasoittaa huoneiden välisiä lämpötilaeroja huomaamattomasti. Se lisää yksityisyyttä ja asuinmukavuutta, kun huoneiden välinen ääneneristävyys paranee. Air-In® Pason äänenvaimennus on mitattu VTT:llä. Katso taulukko alla.
Air-In® Pason avulla ovista voidaan tehdä tiiviitä ja oven alareunassa rumasti näkyvät raot voidaan unohtaa. Ovivirtaussäleikön ansiosta alhaalta ovenraosta tuleva vedontunne häviää, kun ilma siirretään oven yläpuolitse huomaamattomasti huoneesta toiseen. Ovista tulee näin ilmastoidut ja hengittävät. Myös epäpuhdas ilma on parempi poistaa oven yläpuolisen siirtoilmasäleikön kautta. Air-In® Paso on Euroopassa palkittu huoneiden välisen ilmanvaihdon ratkaisu.
Air-In Paso ovivirtaussäleikkö soveltuu kaikkiin välioviin, saatavilla eri karmisyvyyksillä.
| Tuote | Mitat | Karmisyvyydet | Materiaali | Ilmamäärä l/s (paine 20 Pa) |
Äänenvaimennus dB Dn,e,w (mitattu VTT:llä) |
| Air-In Paso 80/800 | l=80mm p=800mm h=15mm |
> 80mm | teräslevy | 19 | 33 |
| Air-In Paso 90/800 | l=90mm p=800mm h=15mm |
> 90mm | teräslevy | 19 | 33 |
| Air-In Paso 100/800 | l=100mm p=800mm h=15mm |
> 100mm | teräslevy | 19 | 34 |
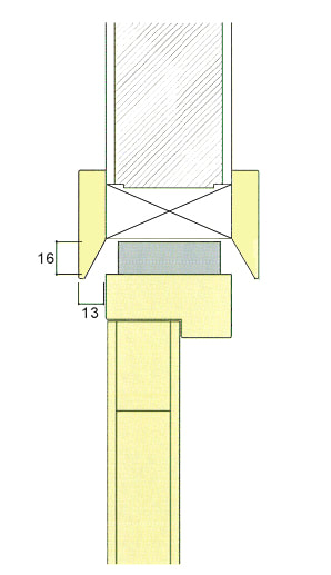
Air-In® Paso on helppo asentaa, ovivirtaussäleikkö vain työnnetään ovenkarmin päälle.
Listat leikataan rakennekuvan osoittamalla tavalla viistosti ja asennetaan sen jälkeen normaalisti paikoilleen.
Voidaan asentaa myös kolmiot ylöspäin, jolloin listan viiste tulee yläpuolelle.
Air-In® Paso Ovivirtaussäleikkö - Asennusohje





